Humidity for a better life

本文討論的加濕距離是針對在風道中空氣能夠最有效吸收蒸汽時所需的距離,包括霧區,擴展區和混合區。
1. 定義
加濕距離由霧區以及其后的擴展區和混合區組成,霧區是緊鄰蒸汽加濕噴管之后的下游氣流段,噴入的一定量蒸汽完全進入系統空氣之中。擴展區和混合區緊隨其后,蒸汽引入的水分在該區段中的空氣均勻混合。所需要的加濕距離取決于沿氣流方向的風道組成部件(如彎頭,三通,變徑管等)。正確計算加濕距離對于防止風道內冷凝現象尤為重要。了解加濕距離對于正確的濕度控制也具有重要意義,因為濕度控制傳感器只能安裝在濕度值平衡穩定的位置。
加濕吸收距離?BN?的確定取決于一系列不同的因素,下面的加濕距離表格可用于簡單確定數值。表格中的參考數值限定于送風溫度范圍在15℃到 30℃之間。
單蒸汽噴管加濕吸收距離表:
進風相對濕度 φ1 (%) |
吸收距離 BN單位(米) 出風相對濕度 φ2(%) |
|||||
|---|---|---|---|---|---|---|
| 40 | 50 | 60 | 70 | 80 | 90 | |
| 5 | 0.9 | 1.1 | 1.4 | 1.8 | 2.3 | 3.5 |
| 10 | 0.8 | 1.0 | 1.3 | 1.7 | 2.2 | 3.4 |
| 20 | 0.7 | 0.9 | 1.2 | 1.5 | 2.1 | 3.2 |
| 30 | 0.5 | 0.8 | 1.0 | 1.4 | 1.9 | 2.9 |
| 40 | - | 0.5 | 0.8 | 1.2 | 1.7 | 2.7 |
| 50 | - | - | 0.5 | 1.0 | 1.5 | 2.4 |
| 60 | - | - | - | 0.7 | 1.2 | 2.1 |
| 70 | - | - | - | - | 0.8 | 1.7 |
相對濕度φ1(%): 加濕前送風相對濕度(最低送風溫度) 相對濕度φ2(%): 加濕后送風相對濕度(最大蒸汽輸出量) |
||||||
在蒸汽加濕中,加濕距離具有特殊意義。蒸汽從噴管中噴出以后首先會在氣流中冷凝,并在一定距離(加濕距離)內形成可見的霧。噴入的蒸汽在緊隨其后的擴展混合區與系統送風均勻混合。在為衛生運行模式確定加濕距離時,必須要單獨考慮這種情況,精確的控制結果取決于濕度傳感器所在位置的濕度分布是否處于最佳狀態。加濕距離取決于不同的因素,也是確立下游系統部件和傳感器建立所需最短距離的基礎。
在某種程度上,蒸汽與較冷的系統空氣的接觸促使了冷凝發生。然而,冷凝的主要原因是蒸汽噴出以后在風道截面上的分布不夠理想。尤其是在改造項目中,可能就沒有所需的加濕距離。在這種情況下,采用多噴管蒸汽分布系統往往會成功解決這個問題。在適當短的加濕距離下,蒸汽可以盡可能均勻地分布在整個氣流上。均勻性指數是蒸汽分布的一個有價值的參考參數。(請參考加濕知識文章“如何確定均勻性指數”)
多噴管蒸汽分布系統加濕吸收距離表
進風相對濕度 φ1 (%) |
吸收距離BN單位(米) 出風相對濕度 φ2(%) |
|||||
|---|---|---|---|---|---|---|
| 40 | 50 | 60 | 70 | 80 | 90 | |
| 5 | 0.22 | 0.28 | 0.36 | 0.48 | 0.66 | 1.08 |
| 10 | 0.26 | 0.26 | 0.45 | 0.45 | 0.64 | 1.04 |
| 20 | 0.16 | 0.22 | 0.30 | 0.41 | 0.58 | 0.96 |
| 30 | 0.10 | 0.17 | 0.25 | 0.36 | 0.52 | 0.88 |
| 40 | - | 0.11 | 0.20 | 0.30 | 0.45 | 0.79 |
| 50 | - | - | 0.13 | 0.24 | 0.38 | 0.69 |
| 60 | - | - | - | 0.16 | 0.30 | 0.58 |
| 70 | - | - | - | - | 0.20 | 0.45 |
相對濕度φ1(%): 加濕前送風相對濕度(最低送風溫度) 相對濕度φ2(%): 加濕后送風相對濕度(最大蒸汽輸出量) 風道寬度<600 mm,多噴管蒸汽分布系統的加濕距離要增加大約50% |
||||||
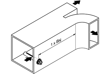
為阻止蒸汽分布管輸送的蒸汽在下游安裝的部件上發生冷凝,下列這些部件必須與蒸汽噴管保持一個特定的最小距離(基于加濕吸收距離 ?BN?)
在漸縮管之前或之后 |
寬度增加之后 |
|---|---|
![]() |
![]() |
| 在彎頭之前 | 在分支管之前 |
![]() |
![]() |
| 在送風格柵之前 | 在濕度控制器或傳感器之前 |
![]() |
![]() |
在加熱器/過濾器之前或之后 |
|
![]() |
|
在風機/風道出口前后 |
|
![]() |
|